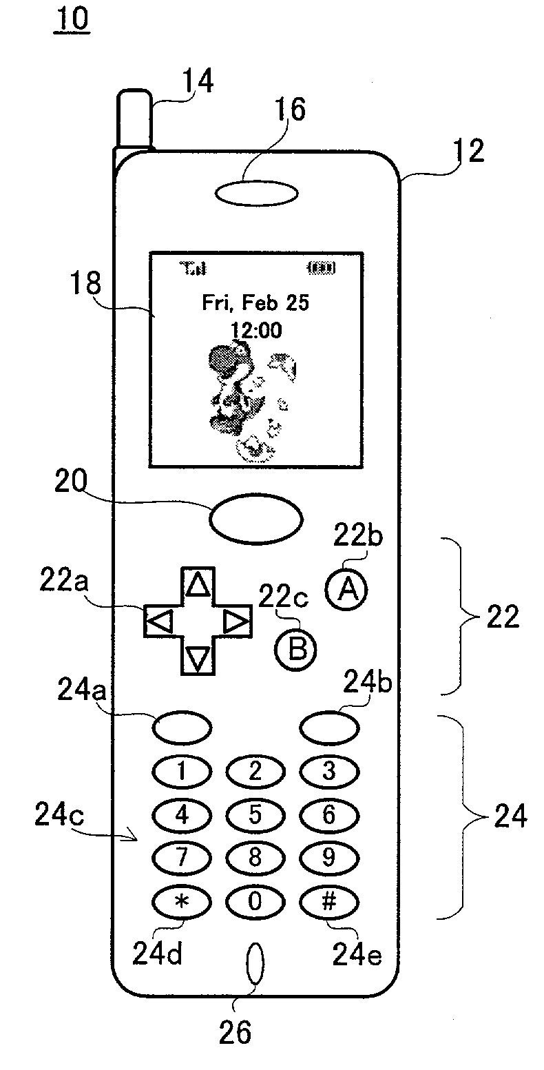
A patent filed by Nintendo shows the company has been interested in developing mobile games since 2001. It also shows that the company was interested in making hardware as well.
The patent, which was found by Reddit user NintendoGamer1997, shows images of a cell phone with a D-pad and an A and B button along with a touch tone keypad. The patent also shows what might have appeared on screen, including an image of Mario. The phone would have allowed users to play Nintendo games, including Super Mario DX, Metroid 2, and Golf.
While Nintendo never released a mobile device, the company has made the jump into mobile gaming. The company recently released Miitomo, a social app that allows friends to converse with one another through various questions. The app has been a success, as the developer recently celebrated the app reaching 10 million downloads. Nintendo has also revealed that two new apps based on the Animal Crossing and fire Emblem franchises are on the way as well.






